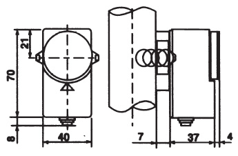
Pinnatermostaat C01

Klamberkinnitus, väline asetus, IP40

Kontaktid: AC 250 V 15 (2,5) A

Müük ja info

Wermundsen OÜ
Mustamäe tee 55
EE-10620 Tallinn, Estonia
Tel: (+372) 601 4202
wermundsen@wermundsen.ee

Toodete pildid

Tootja koduleht


Lisateave

PDF icon c01a.pdf
Mudel S number LVI-number Reguleerimis diapasoon °C Hüsterees °C Korpuse temperatuur °C
C01A 3539225 4363302 20… 90 8 -35… 120