Magnetventiilid 314 ASCO
3-tee, Normaalselt suletud/avatud/universaalsed, mõõt ¼", rõhkude vahele 0-62 bar
Omadused
- Magnetventiilid vastavad kõigile nõutavatele EU-direktiividele
- Kiiretoimelised
- Kompaktne ehitusi, ühetoimelise seadme juhtimiseks
- Ventiilis on ainult üks vedru ja kaks liikuvat osa
|
Kasutatavad ained (*) |
Vesi, õhk, inertgaasid, õli |
|
Maksimaalne viskoosus |
65 cSt (mm2/s) |
|
Reageerimisajad |
5 – 25 ms |
|
Temperatuurile (TS) |
–25… +90 °C |
|
Tihendid (*) |
NBR (nitrile/buna-n) |
VOOLAVA AINEGA KONTAKTIS OLEVAD MATERJALID
(*) Kontrolli materjalide sobivust voolavale ainele
Messingpesa
Korpus Messing
Siseosad Roostevaba teras
Vedru Roostevaba teras
Hülss Messing
Tihendid NBR
Lühisrõngas Vask
Roostevaba teraspesa
Korpus Roostevaba teras
Siseosad Roostevaba teras
Vedru Roostevaba teras
Hülss Roostevaba teras
Tihendid NBR
Lühisrõngas Hõbe
ELEKTRILISED NÄITAJAD
Mähise isolatsiooniklass F
Pistik ISO 4400
Elektriturvalisus IEC 335
Kaitseklass IP65
Standardpinged DC (=): 24 V – 48V
AC (~): 24 V – 48V –115 V – 230 V / 50 Hz
(Muudele pingetele ja 60 Hz sagedusele küsi lisainfot)
VALIKUVARIANTE
- ventiilid saadaval FPM (fluoroelasatomer/viton), EPDM (ethylene-propylene) tihendid
- plahvatuskaitstuna
- Käsijuhtimisega
Müük ja info
Wermundsen OÜ
Mustamäe tee 55
EE-10620 Tallinn, Estonia
Tel: (+372) 601 4202
wermundsen@wermundsen.ee
Toodete pildid
Tootja koduleht
Lisateave
314.pdf
|
Mõõt |
Voolamisava |
Voolamistegur Kv |
Rõhkude vahele (bar) |
Mähise võimsus (W) |
Keermetüüp |
Mudel |
||||||||||||
|
min. |
Maksimaalne (PS) |
|||||||||||||||||
|
2 ➞ 1 |
1 ➞ 3 |
|||||||||||||||||
|
Õhk (1) |
vesi (1) |
õli (1) |
Messing |
Roostevaba teras |
||||||||||||||
|
(G)(1) |
(mm) |
(m3/h) |
(l/min.) |
(m3/h) |
(l/min.) |
~ |
= |
~ |
= |
~ |
= |
~ |
~ |
|||||
|
~ |
= |
|||||||||||||||||
|
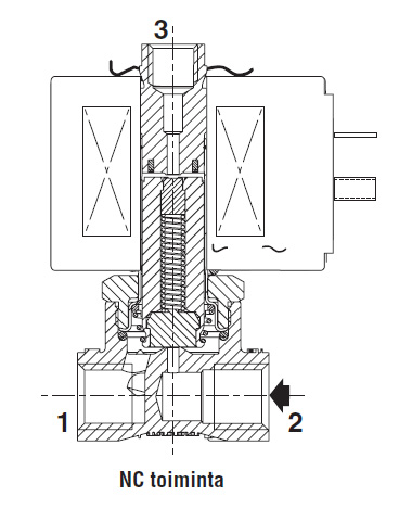
NC – NORMAALSELT SULETUD, NBR TIHENDID JA VENTIILITALDRIK |
||||||||||||||||||
|
1/4 |
1,2 |
0,04 |
0,7 |
0,05 |
0,8 |
0 |
20 |
17 |
20 |
41 |
50 |
34 |
10,1 |
11,6 |
G |
E314K034S1N00 |
E314K068S1N00 |
|
|
2,4 |
0,13 |
2,2 |
0,17 |
2,8 |
0 |
14 |
10 |
14 |
10 |
13 |
10 |
10,1 |
11,6 |
G |
E314K035S1N00 |
E314K121S1N00 |
||
|
3,2 |
0,22 |
3,7 |
0,17 |
2,8 |
0 |
10 |
6 |
10 |
6,5 |
0 |
6 |
10,1 |
11,6 |
G |
E314K036S1N00 |
E314K126S1N00 |
||
|
4 |
0,43 |
7,1 |
0,17 |
2,8 |
0 |
5 |
3 |
5 |
3,5 |
10 |
3,5 |
10,1 |
11,6 |
G |
E314K130S1N00 |
E314K230S1N00 |
||
|
5,6 |
0,60 |
10 |
0,17 |
2,8 |
0 |
2,5 |
1,7 |
2,5 |
2 |
6,5 |
2 |
10,1 |
11,6 |
G |
E314K131S1N00 |
E314K231S1N00 |
||
|
7,1 |
0,73 |
12,1 |
0,17 |
2,8 |
0 |
1,7 |
1 |
1,7 |
1,3 |
2 |
1,3 |
10,1 |
11,6 |
G |
E314K132S1N00 |
E314K232S1N00 |
||
|
U – UNIVERSAALNE, NBR TIHENDID JA VENTIILITALDRIK |
||||||||||||||||||
|
1/4 |
1,2 |
0,04 |
0,7 |
0,05 |
0,8 |
0 |
13 |
13 |
13 |
13 |
13 |
13 |
10,1 |
11,6 |
G |
E314K006S1N00 |
E314K123S1N00 |
|
|
2,4 |
0,13 |
2,2 |
0,17 |
2,8 |
0 |
7 |
7 |
5,5 |
5,5 |
4 |
4 |
10,1 |
11,6 |
G |
E314K007S1N00 |
E314K120S1N00 |
||
|
3,2 |
0,22 |
3,7 |
0,17 |
2,8 |
0 |
4,5 |
3,5 |
4,5 |
3 |
2,5 |
3 |
10,1 |
11,6 |
G |
E314K008S1N00 |
E314K124S1N00 |
||
|
4 |
0,43 |
7,1 |
0,17 |
2,8 |
0 |
2,5 |
1,7 |
2,5 |
1,7 |
2,5 |
1,7 |
10,1 |
11,6 |
G |
E314K127S1N00 |
E314K227S1N00 |
||
|
5,6 |
0,60 |
10 |
0,17 |
2,8 |
0 |
1,2 |
0,8 |
1,2 |
0,8 |
1,2 |
0,8 |
10,1 |
11,6 |
G |
E314K128S1N00 |
E314K228S1N00 |
||
|
7,1 |
0,73 |
12,1 |
0,17 |
2,8 |
0 |
0,68 |
0,55 |
0,68 |
0,55 |
0,68 |
0,55 |
10,1 |
11,6 |
G |
E314K129S1N00 |
E314K229S1N00 |
||
|
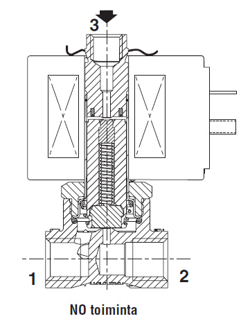
NO – NORMAALSELT AVATUD, NBR TIHENDID JA VENTIILITALDRIK |
||||||||||||||||||
|
1/4 |
1,2 |
0,04 |
0,7 |
0,05 |
0,8 |
0 |
20 |
44 |
62 |
33 |
55 |
22 |
10,1 |
11,6 |
G |
E314K052S1N00 |
E314K069S1N00 |
|
|
2,4 |
0,13 |
2,2 |
0,17 |
2,8 |
0 |
12 |
11 |
12 |
11 |
12 |
11 |
10,1 |
11,6 |
G |
E314K053S1N00 |
E314K122S1N00 |
||
|
3,2 |
0,22 |
3,7 |
0,17 |
2,8 |
0 |
11 |
10 |
11 |
10 |
11 |
8 |
10,1 |
11,6 |
G |
E262K054S1N00 |
E314K070S1N00 |
||
|
4 |
0,43 |
7,1 |
0,17 |
2,8 |
0 |
10 |
4 |
10 |
4 |
10 |
4 |
10,1 |
11,6 |
G |
E262K133S1N00 |
E314K233S1N00 |
||
|
5,6 |
0,60 |
10 |
0,17 |
2,8 |
0 |
6,5 |
2,5 |
6,5 |
2,5 |
6,5 |
2,5 |
10,1 |
11,6 |
G |
E262K134S1N00 |
E314K234S1N00 |
||
|
7,1 |
0,73 |
12,1 |
0,17 |
2,8 |
0 |
4 |
1,7 |
4 |
1,7 |
4 |
1,7 |
10,1 |
11,6 |
G |
E262K135S1N00 |
E314K235S1N00 |
||